Рубрики
Технологии

Samsung готовит новый смартфон, который сможет складываться втрое

На это указывает новый патент

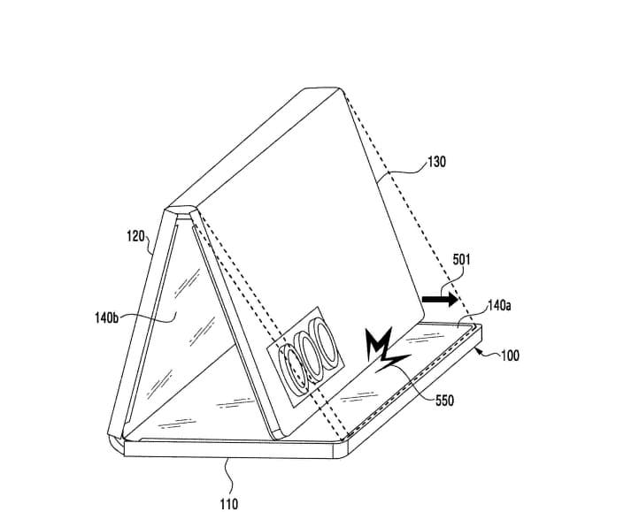
Компания Samsung продолжает эксперименты с трёхсекционными складными смартфонами. Новый патент описывает концепт Galaxy Z TriFold Wide, который отличается более широким форм-фактором.

В сложенном состоянии устройство должно напоминать обычный смартфон, пусть и немного шире, а в разложенном превращаться в полноценный экран планшетного уровня.

Рендер на базе патентного изображения. Grok

Первая попытка Samsung в этом сегменте оказалась дорогой и сложной в производстве, однако интерес пользователей оказался высоким: ограниченные партии быстро раскупались, а цены на вторичном рынке росли.

Мы уже сообщали о подготовке такого смартфона, а теперь появились детальные изображения из патента.

Изображение cdn.prod.website

Изображение cdn.prod.website

Изображение cdn.prod.website

На фоне усиления конкуренции со стороны Huawei и возможного выхода Apple в этот сегмент Samsung пытается превратить экспериментальную идею в массовый продукт.